Les intercoms

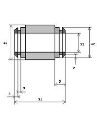
Un lecteur nous a envoyé ces schémas pour réaliser vous même des intercoms débouchés (Vboost eliminator) :