VMAX 1200 : LES ÉCHAPPEMENTS

Mise à jour juillet 2009

L'échappement, çà compte sur une moto, attribut à la fois esthétique et sonore (allumez vos enceintes d'ailleurs, vous allez en avoir besoin). Hélas, il devient de plus en plus difficile de s'en procurer et il nous faudra aller sur les circuits pour entendre encore de belles mélodies de V4... si le lobby écologique du coin n'a pas fait fermer la piste. Mais nous avons encore quelques années devant nous et la Vmax 1200, moto de légende, ne sera jamais catalysée !!

Cet article a pour but de vous faire un tour d'horizon sur ce qu'on peut trouver si vous souhaitez remplacer vos pots d'origine. C'est loin d'être exhaustif tant les fabricants sont nombreux et le Vmax les inspire. Souvenez vous quand même de diverses petites choses :

Les pots d'origine

On peut avoir envie de garder ses pots d'origine. C'est vrai qu'ils participent à la ligne massive et puissante de la Vmax, de profil comme de l'arrière. Sachez qu'ils existent en 2 variantes, petites et grosses sorties. Les grosses sorties sont plus performants, ont un plus beau bruit et sont montés sur les premiers Vmax avant qu'une première vague de limitation du bruit ne vienne frapper. On les trouve neufs en rechange. Avec les petites sorties, la Vmax devient quasi inaudible dans le trafic et perd quelques chevaux...

Écoutez les : petites sorties - grosses sorties. Pas les mêmes hein ?

Caisson de basse nécessaire pour une écoute optimale. Les fichiers son font entre 100 et 500 Ko.


Petites sorties. L'ensemble pèse 11 kg.


Grosses sorties. Notez au passage ce qu'on appelle un pneu "au carré" !

Les pots possèdent de chaque côté un petit orifice en partie basse qu'il faut nettoyer car il permet l'évacuation de l'eau de condensation. Mais vos pots finiront quand même par rouiller par l'intérieur et un jour vous découvrirez des petites boursouflures sous le chrome, qui iront grossissant jusqu'à perforer et découper vos pots !

Les pots d'origine c'est la partie la plus large de la moto, pensez y en ville quand vous slalomez entre des voitures à l'arrêt, ou quand vous montez sur un trottoir entre des plots, on a vite fait de les accrocher. Les trottoirs justement, gaffe aussi à pas cogner les tubes sous le moteur en descente, et çà vaut pour tous les pots.

La ligne complète d'échappement comprend les 2 sorties coudées avant, indépendantes mais qui se rejoignent sous la moto, les 2 spaghettis arrières et la partie arrière toute entière monobloc. Tous les tubes sont à double paroi, ce qui fait qu'ils ne bleuissent pas à la chaleur. Mais c'est très chaud quand même, les mollets de votre passagère pourraient s'en souvenir longtemps en cas de fausse manoeuvre !

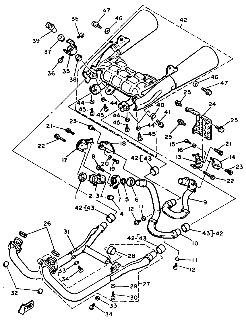
Vue éclatée du montage d'origine

Les tubes coudés et les spaghettis se trouvent assez facilement à la casse en cas de besoin (50% du neuf). Il est conseillé de déposer d'abord les tubes coudés, avant de s'attaquer à la dépose des pots. On en trouve aussi en adaptable en inox..
Cliquez pour agrandirAu remontage, les écrous des brides d'échappement sur les culasses se serrent à 2 m.kg.

En cas de dépose, changer systématiquement les 4 bagues d'étanchéité cylindriques (42-43 sur la vue éclatée) qui raccordent la partie arrière et valent une fortune, et les joints à écraser (26) en sortie de culasse.

Un truc de lecteur (nlecor@club-internet.fr), pour améliorer le bruit d'un pot d'origine : tu fais sauter les 5 rivets pop de la rondelle enjoliveur de l'extrémité des pots, tu arrives sur la cloison du pot, là tu perces 5 trous (de 6 mm) entre les trous des rivets pop et tu refixes la rondelle avec de nouveaux rivets en mettant sur le corps des rivets 4 ou 5 rondelles métalliques pour l'éloigner de la cloison que tu as percée pour laisser les gaz s'échapper. Je l'ai fait, c'est nickel. Avantages: coût quasi nul, retour en configuration d'origine sans problème en cas de contrôle (tu refais la manip et tu vires les rondelles, comme ça les trous que tu as percés sont bouchés par la rondelle qui s'applique dessus). Précaution; prendre des rivets pop spécial échappement en inox, car je l'ai fait au début avec des normaux une première fois, ça a tenu 8 jours ! Depuis 6 mois no problem !

Réservé à un usage sur circuit fermé.

Marving, un fabricant italien comme son nom ne l'indique pas, propose un modèle homologué à prix abordable qui reprend le look des pots d'origine. Ils sont un poil plus courts.

 

 

 

Photo Marving

Photo Marving